基于UC3846的推挽正激DC-DC变换器的设计
本文设计了一款基于UC3846的推挽正激DC—DC变换器,分析了变换器的电路控制原理。样机的实验波形及数据表明该变换器克服了传统推挽电路的不足,具有变换效率高,功率开关管电压尖峰小、动态响应快等优点。
0.引言
推挽拓扑结构为升压电源最常用的拓扑结构(如:联能和协欣),适用于低压大电流电路。推挽变换器电路结构简单,其高频变压器磁亦是双向磁化,而且对变压器的绕制要求较高,必须具有良好的对称性。变压器的磁芯偏磁对器件参数的一致性和驱动电路驱动信号脉宽的一致性提出了较高的要求,同时控制方式也要求采用电流型控制方案,增加电路的复杂性和难度。但是高频变压器上直接施加输入电压,因而只用两个功率开关管便能获得较大的功率输出,而且两路驱动电路无需隔离,因此驱动电路可以简化。这是推挽电路最明显的优点。但推挽电路也有两个缺点:一是在开关管关断时原边线圈的漏感能量释放网难,而且,会在开关管上形成关断尖峰,易导致开关管损坏。二是器件或电路的不对称会引起磁芯偏磁,导致磁芯饱和。本设计的主拓扑采用较为新颖的推挽正激电路,与推挽电路相比,推挽正激电路在推挽变压器初级两个绕组的同名端增加了箝位电容Co。
推挽正激DC—DC变换器硬件电路的设计
1.1新型推挽正激电路
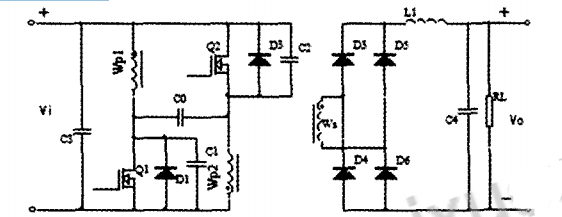
针对推挽电路两个明显的缺点,本设计的主电路采用新型推挽正激电路,是在以往的推挽变压器初级两个绕组的同名端增加了箝位电容Co,推挽电路的工作性能因Co的加入而得到很大改善。推挽正激电路如图1所示。

工作模态1:开关管Q1和O2截止(保持),箝位电容c1被充电到Vi,电位左正右负。
工作模态2:开关管Q1导通,Q2截止,v1通过Q1和高变初级线圈Wpl形成回路。同时,电压下正上负的箝位电容c1通过高变初级线圈Wp2和开关管Q1形成回路。高变初级Wp1和Wp2同时向次级传输功率。
工作模态3:开关管Q1截止,02导通,V1通过高变初级线圈Wp2和Q2形成回路。同时,电压下正上负的箝位电容c1通过开关管Q2和高变初级线圈Wpl形成回路。高变初级Wpl和Wp2同时向次级传输功率。
新型推挽正激变换器有以下优点:有效抑制开关管的电尖峰、提高下作效率、抑制磁芯偏磁、减小输入电流脉动等。
1.2控制电路设计
本设计利用电流型控制技术,并采用双环控制方法。如图2所示,电压环Pnf算实现电压外环控制,可以保证输稳,保证电源系统的稳态性能。电流环实现电流内环控制,可以加快系统的动态响应速度,提高系统的动态性能。采样电路采样输m电压和电流,通过电压PID调节和电流PID调节,可实现恒和限流控制。
本设计采用电流模式集成芯片UC3846来实现对主电路的控制功能,UC3846可以实现双环控制,一个由接收输出电压采样信号的误差放大器构成电乐外环和一个南接收初级峰值电流采样信号的PWM比较器构成内环。峰值电流采样信号需通过采样电阻将其转换为阶梯斜坡电压。
本设计利用初级峰值电流通过UC3846的3、4脚限制峰值功率。通过UC3846的内部运放(5、6、7脚)实现恒乐控制。通过外加运放的PID调节作拉低5脚的基准电压,可实现恒流控制。这种控制方法,恒精度高,但是,电流调节速度慢于电调节速度。而且,由于外同器件的温漂,恒流点易受温度影响。此控制,适用于稳压要求高的电路,比较适合带阻性和感性的负载。
2.保护电路的设计
2.1输入过恢压保护电路
当系统输入电压过高或者电压不足时,可使图4中的过/欠压输入端置低电平,同时光耦2705置为高电平,使其输出高电平。因此,UC3846的脚16就会被加速电容c6和二极管D6施加正脉冲,从而使UC3846芯片内部品闸管导通。南UC3846自带的保护电路使引脚l为低电平,经检测电路后使得电路进入保护状态,UC3846芯片输封锁脉冲。
还有就是,当2705输出高电平时,一极管饱和接通使电路支路接地。电路中有电容C6的存在,使得电路加速,而极管的导通会推迟。三极管的导通压降比品闸管的要小,所以品闸管不能连续导通,即晶闸管恢复火断。当过/欠压故障消除后,系统最新输出脉冲。
2.2输入过流,过载保护电路
当电路巾检测到电流过大、负载过载的信号时,比较器LM2903就会输出低电平,光耦2705同时输出高电平,经D7加在控制电路的引脚16上,也会使得脉冲输出封锁。电路由晶闸管维持导通,只有当系统电流在正常输入范围内且不过载时,系统重新输出启动信号有脉冲输出。
3.实验结果
按照以上设计思路研制出一台工程样机,输入电压为DC2OV一32V,额定24V,输出电压为DC360±10V,额定功率为3KW,峰值功率为4.5KW。
1)负载:RL=28欧姆板型负载;输入:Vi=24V,li=ll8A,Pi=2802W;输出:V0:264V,1o=10A,Po=2628.1W;效率:y=94%,Pc=174.1W。
2)负载:RL=60欧姆板型负载;输入:Vi=24.64V,Ii=50.27A,Pi=1238.7w;输出:Vo=263.3V,Io-4.32A,Po=l137.5W;效率:y=91.83%,Pc=101W。
3)负载:RL=260欧姆板型负载;输入:Vi=25.127V,li=12.87A,Pi=323.4W;输出:vf263.3V,Io=0.98A,Po=258W;效率:y=80%,Pc=65.4W。
4)满载时,输出纹波。
4.结论
由以上分析可知,该变换器当输出2.6KW时,变换效率达到94%,并可得到稳定的输出电压,其最大输出波纹小于l%,设计了过温关断、过,欠压保护电路、输入过流/过载保护电路,提高了电路的安全可靠性能。在低压输入功率较大的场合,具有重要的适用价值。
- 被动元件缺料涨价灾情惨烈,部分代工厂商或面临倒闭危机[18年05月16日 10:04]
- 绿联无线充电器评测_性价比爆棚价格实惠[18年05月19日 14:38]
- 基于i.MX6UL处理器的上电时序设计[18年05月19日 14:36]
- 绿联无线充电器怎么样_绿联无线充电器拆解详情[18年05月19日 14:14]
- 绿联qc3.0快速充电器评测(外观、性能、兼容测试)[18年05月19日 14:06]
- 电源重新上电引起的MCU启动失败的原因分析[18年05月19日 14:04]







在线客服